根据现有数据,全球介入心脏病学与外周血管介入器械市场正经历强劲且稳健的增长,其核心驱动力是心血管疾病负担加重和微创技术的普及。下表汇总了两个市场的关键数据:
|
|
|
|
|---|---|---|
| 介入心脏病学设备 |
|
|
|
|
|
|
|
|
|
7.3%
|
| 外周血管介入设备 |
|
|
|
|
|
|
|
|
|
6.1% |
| 主动脉及外周血管介入产品 |
|
|
|
|
|
|
|
|
|
7.8% |
| 心导管 (关键器械) |
|
264.2亿刀 |
|
|
|
|
|
|
|
7.39%
|
| 全球心血管介入器械 (广义) |
|
728.3亿刀 |
|
|
|
1103.9亿刀 |
本指南全面列出了米国市场上可用的血管介入器械,按制造商名称字母顺序排列,包含各产品的尺寸、配置及特性。年度指南持续更新,确保信息最新。(原文以电子表格形式展示)
——最后,补:重新附上前一期内容(1月7日)中的表格,可以在手机屏幕上完整显示。
首先是产品清单。
米国心血管介入产品清单
|
|
|
|---|---|
| 主动脉(腹主动脉瘤AAA) |
|
|
|
|
|
|
|
|
|
|
|
|
|
|
|
|
|
|
|
|
|
|
|
|
|
|
|
|
|
|
|
|
|
|
|
|
|
| 主动脉(胸主动脉瘤TAA) |
|
|
|
|
|
|
|
|
|
|
|
|
|
|
|
|
|
|
|
|
|
|
|
|
|
| 球囊 |
|
|
|
|
|
|
|
|
|
|
|
|
|
|
|
|
|
|
|
| 导管 |
|
|
|
|
|
|
|
|
|
|
|
|
|
|
|
|
|
|
|
|
|
|
|
|
|
|
|
|
| 栓塞产品 |
|
|
|
|
|
|
|
|
|
|
|
|
|
|
|
|
|
|
|
|
|
|
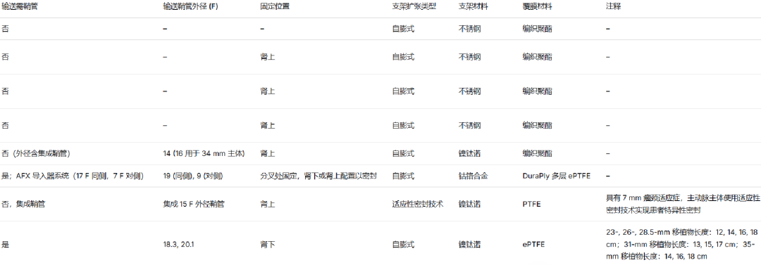
| 鞘管 |
|
|
|
|
|
|
|
|
|
|
|
|
|
| 支架 |
|
|
|
|
|
|
|
|
|
|
|
|
|
|
|
|
|
|
|
|
|
|
|
|
|
|
|
|
| 导丝 |
|
|
|
|
|
|
|
|
|
|
| 其他设备 |
|
|
|
|
|
|
|
|
|
|
|
|
|
|
|
|
|
|
|
|
|
|
|
|
|
|
|
|
|
|
|
|
|
|
|
|
|
|
|
|
|
|
|
|
|
|
|
|
|
|
|
|
|
|
|
|
|
|
|
|
|
|
|
|
|
|
|
|
|
|
|
|
|
|
|
|
|
|
|
|
|
|
|
|
|
|
|
|
|
|
|
|
|
|
|
|
|
|
|
|
|
|
|
|
|
|
|
|
|
|
|
|
|
|
|
|
|
|
|
|
|
|
|
|
|
|
|
|
|
|
|
|
|
|
|
|
|
|
|
腹主动脉瘤 (AAA) 器械
穿刺针(9款产品)
-
AngioDynamics:Mini Stick MAX 同轴微穿刺导入器套件 (21G,长度: 4, 7 cm)
-
Argon Medical Devices, Inc.:AMC4 经皮穿刺薄壁针 (18, 19G,长度: 7 cm)
-
Cook Medical:微穿刺导入器套件 (21G,长度: 4, 7, 12 cm);一体式经皮穿刺薄壁针 (18, 19 UTW, 20, 21G,长度: 2.5, 4, 5, 7, 9, 15 cm)
-
Galt:经皮穿刺薄壁针 (21G,长度: 12 cm)
-
InjectiMed, Inc.:SafetyNet 导丝导入器超薄壁针 回声头端 (18G,长度: 7 cm);SafetyNet 导丝导入器薄壁针 回声头端 (21G,长度: 4, 7 cm)
-
Merit Medical Systems, Inc.:Advance 血管造影针 (18, 19, 20, 21G [光滑/回声增强],长度: 2.5, 4, 7, 9 cm);Advance 血管造影安全针 (18, 21G,长度: 7 cm)
辅助组件(8款产品)
-
Cook Medical:Zenith 辅助组件 (主体延伸段直径: 22-36 mm,长度: 3.9-7.3 cm;主-单髂转换器近端直径: 24-36 mm,长度: 8-8.2 cm)
-
Endologix:AFX2 系统 – 分支延伸段 (髂支直径: 锥形/直型/阶梯型 13-25 mm,长度: 5.5-8.8 cm);AFX2 系统 – Vela 近端移植物系统 (直径: 25, 28, 34 mm,长度: 7.5-10 cm);Alto 系统 – Ovation iX 髂支延伸段 (直径: 10-28 mm,长度: 4.5 cm);Destino Twist 可操控鞘管 (可用长度: 55 cm)
-
Gore & Associates:Gore Excluder AAA 覆膜支架系统 主体/髂支延伸段 (主体直径: 23-36 mm;髂支直径: 10-27 mm,长度: 7-14 cm);Gore Excluder 顺应性 AAA 覆膜支架系统 主体/髂支延伸段 (主体直径: 20-36 mm;髂支直径: 10-27 mm,长度: 7-14 cm)
-
Medtronic:Endurant II AAA 支架移植物系统 主体/髂支延伸段 (主体直径: 23-36 mm,长度: 4.9, 7 cm;髂支直径: 10-28 mm,长度: 8.2 cm;主-单髂转换器直径: 23-36 mm,长度: 10.2 cm)
诊断导管(4款产品)
-
AngioDynamics:Accu-Vu 测量导管 (4, 5F,长度: 70, 90, 100 cm);Mariner 亲水性血管造影导管 (4, 5F,长度: 40-150 cm);Soft-Vu 血管造影导管 (4, 5, 6F,长度: 25-150 cm)
-
Merit Medical Systems, Inc.:血管测量导管 (4, 5F,长度: 65, 100 cm)
扩张器(1款产品)
-
Cook Medical:腔内扩张器及套件 (14, 16/18, 20/22, 24/26 F,长度: 45 cm)
内移植物固定系统(3款产品)
-
Medtronic:Heli-FX EndoAnchor 系统 (含导引导管、植入器及EndoAnchor盒)。适用于支架移植物出现移位、内漏或有相关风险,需增强固定/密封的患者。
导丝(29款产品)
-
AngioDynamics:ADx 系列 (Bentson, J型头, Newton, Rosen, 直头;直径: 0.025-0.038英寸;长度: 80-260 cm);NiT-Vu 高性能微导丝 (直径: 0.014, 0.018英寸;长度: 80-300 cm)
-
Boston Scientific Corporation:Amplatz 超硬系列 (直头、J型头、ST型;直径: 0.035, 0.038英寸;长度: 145-260 cm);Meier 系列 (C弯、J弯;直径: 0.035英寸)
-
Cook Medical:Amplatz 超硬直头、Bentson、Lunderquist 超硬、Roadrunner 亲水性、Safe-T-J Rosen 弯头导丝 (直径: 0.035英寸;长度: 80-320 cm)
-
Medtronic:Steerant 超硬导丝 (直径: 0.035英寸,长度: 200, 260 cm)
-
Merit Medical Systems, Inc.:Go2Wire 可操控系统、InQwire 系列 (Amplatz, Bentson, J型头, Newton, Rosen, 超硬)、Mighty Wire (直径: 0.018-0.038英寸;长度: 80-300 cm)
髂动脉分支(3款产品)
-
Cook Medical:Zenith 髂动脉分支 (髂总动脉长: 4.5, 6.1 cm;分支直径: 8 mm;输送鞘: 22.5 F;材料: 不锈钢/镍钛诺环,聚酯覆膜)
-
Gore & Associates:Gore Excluder 髂动脉分支组件 (髂总动脉长: 5.5 cm;分支直径: 13 mm;输送鞘: 18.3 F;材料: 镍钛诺,ePTFE覆膜);Gore Excluder 髂内动脉组件 (输送鞘: 14 F;材料: 镍钛诺,ePTFE覆膜)
髂支(10款产品)
-
Cook Medical:Zenith 开窗AAA远端分叉主体 (直径: 12-24 mm,长度: 2.8-6.2 cm);Zenith Spiral-Z 髂支移植物 (直径: 9-24 mm,长度: 3.9-12.2 cm)
-
Cordis:Incraft AAA 系统髂支 (直径: 10-24 mm,长度: 8-14 cm)
-
Endologix:AFX2 系统主体分支 (直径: 13-20 mm,长度: 3-5.5 cm);Alto 系统 Ovation iX 髂支 (直径: 10-28 mm,长度: 8-16 cm)
-
Gore & Associates:Gore Excluder AAA 髂支 (直径: 10-27 mm,长度: 9.5-14 cm)
-
Medtronic:Endurant II AAA 系统髂支 (直径: 10-28 mm,长度: 8.2-19.9 cm);Endurant II AUI 系统髂支 (直径: 10-28 mm,长度: 8.2-19.9 cm);Endurant IIs AAA 系统髂支 (直径: 10-28 mm,长度: 8.2-19.9 cm)
-
Terumo Aortic:Treo 腹主动脉支架髂支延伸段 (直径: 9-24 mm,长度: 80-160 mm;输送轮廓: 13-14 F)
主体移植物(14款产品)
-
Cook Medical:Zenith 开窗AAA (直径: 24-36 mm,长度: 7.6-13.7 cm,输送轮廓: 23-26 F,肾上固定,不锈钢/聚酯);Zenith Flex AAA (直径: 22-36 mm,长度: 8.2-14.9 cm,输送轮廓: 21-26 F,肾上固定,不锈钢/聚酯)
-
Cordis:Incraft AAA 系统 (直径: 22-34 mm,长度: 8.6-9.4 cm,集成鞘管14-16 F,肾上固定,镍钛诺/聚酯)
-
Endologix:AFX2 系统 (直径: 22-28 mm,一体式长度: 4-12 cm,输送鞘: 19 F,分叉/肾下/肾上固定,钴铬合金/ePTFE);Alto 系统 (直径: 20-34 mm,长度: 8 cm,集成鞘管15 F,肾上自适应密封,镍钛诺/PTFE)
-
Gore & Associates:Gore Excluder AAA (C3输送系统) (直径: 23-35 mm,长度: 12-18 cm,输送鞘: 16-18 F,肾下固定,镍钛诺/ePTFE);Gore Excluder 顺应性AAA (直径: 20-36 mm,长度: 12-14 cm,输送鞘: 15-18 F,肾下固定,镍钛诺/ePTFE)
-
Medtronic:Endurant II AAA 系统 (直径: 23-36 mm,长度: 12.4-16.6 cm,输送轮廓: 18-20 F,肾上固定,镍钛诺/聚酯);Endurant II AUI 系统 (直径: 23-36 mm,长度: 10.2 cm,输送轮廓: 18-20 F,肾上固定,镍钛诺/聚酯);Endurant IIs AAA 系统 (直径: 23-36 mm,长度: 10.3 cm,输送轮廓: 18-20 F,肾上固定,镍钛诺/聚酯)
-
Terumo Aortic:主动脉袖套 (直径: 20-36 mm,长度: 4-7 cm,输送轮廓: 18-19 F,肾上/肾下固定,镍钛诺/聚酯);Treo 腹主动脉支架 (直径: 20-36 mm,长度: 8-12 cm,输送轮廓: 18-19 F,肾上/肾下固定,镍钛诺/聚酯)
非顺应性球囊(1款产品)
-
Boston Scientific Corporation:XXL 球囊导管 (尺寸: 7F;球囊直径: 12-18 mm;长度: 2-6 cm;导管长: 75, 120 cm)
阻塞/塑形球囊(11款产品)
-
Boston Scientific Corporation:Berenstein阻塞球囊 (6F,直径: 8.5, 11.5 mm);Equalizer球囊 (7F,直径: 20-40 mm);标准阻塞球囊 (7F,直径: 11.5 mm)
-
Cook Medical:Coda球囊 (10F,直径: 46 mm);Coda LP球囊 (9F,直径: 32 mm)
-
Front Line Medical Technologies Inc.:COBRA-OS (4F,直径: 25 mm,无导丝)
-
Gore & Associates:Gore 塑形与阻塞球囊 (10F,直径: 37 mm)
-
Medtronic:Reliant 支架移植物球囊 (8F,直径: 46 mm)
-
Merit Medical Systems, Inc.:Q50X 支架移植物球囊 (8F,直径: 50 mm)
-
Prytime Medical Devices, Inc.:ER-REBOA PLUS 导管 (6F,直径: 32 mm,兼容导丝)
-
Terumo Aortic:主动脉球囊 (8F,直径: 50 mm)
其他附件(12款产品)
-
Baylis Medical Technologies:Passport 可操控导引鞘管 (6.5-13.8 F,可用长度: 45-90 cm)
-
Cook Medical:Check-Flo Performer 超大/大号/标准导入器、Flexor High-Flex Ansel 导引鞘管、Indy OTW 血管回收器、Nester 铂金栓塞弹簧圈
-
Demax Medical:手臂支撑板 (射线可透)
-
Gore & Associates:Gore DrySeal Flex 导入鞘管 (10-26 F);Gore 三叶球囊导管 (18 F)
-
Medtronic:Sentrant 亲水涂层导入鞘管 (12-26 F);TourGuide 疏水涂层可操控鞘管 (6.5-8.5 F)
原文中“主体移植物(14款产品)”的表格翻译成中文后,拆分成四部分后分别列在下面(用手指点击每一部分均可单独放大):
1-1
2-1(接1-1下方)
2-2(接2-1右侧)
原文表格
胸主动脉瘤 (TAA) 器械(选取部分类别)
杂交移植物(1款产品)
-
Terumo Aortic:Thoraflex Hybrid (Ante-Flo/Plexus设计) (材料: 镍钛诺/明胶密封聚酯;长度: 10, 15 cm;直径: 24-40 mm;带分支设计;用于主动脉弓/降主动脉开放手术)
胸主动脉支架移植物(12款产品)
-
Cook Medical:Zenith Alpha 2、Zenith Alpha 胸主动脉、Zenith TX2 夹层移植物、Zenith TX2 夹层支架 (材料: 镍钛诺或不锈钢/聚酯;直径: 22-46 mm;长度: 7.9-23.3 cm;输送鞘兼容性: 16-22 F内径)
-
Gore & Associates:Gore TAG 顺应性胸主动脉覆膜支架 (带主动控制)、Gore TAG 胸主动脉分支覆膜支架 (主动脉组件、延伸段、侧支) (材料: 镍钛诺/ePTFE;直径: 21-45 mm;长度: 3.6-20 cm;输送需鞘管,兼容性: 14-26 F内径)
-
Medtronic:Valiant 胸主动脉支架移植物 (Captivia输送系统) (材料: 镍钛诺/聚酯;直径: 22-46 mm;长度: 10-20 cm;输送轮廓: 22-25 F外径)
-
Terumo Aortic:RelayPlus、RelayPro Bare Stent、RelayPro Non Bare Stent (材料: 镍钛诺/聚酯;直径: 22-46 mm;长度: 10-25 cm;输送轮廓: 19-26 F外径)
球囊
药物涂层球囊 (动静脉通路适应症)(2款产品)
-
BD Interventional:Lutonix 035 (药物: 紫杉醇 2 µg/mm²;直径: 4-12 mm;长度: 40-100 mm;用于透析瘘狭窄PTA)
-
Medtronic:In.Pact AV (药物: 紫杉醇 3.5 µg/mm²;直径: 4-12 mm;长度: 40-120 mm;用于透析瘘狭窄PTA)
药物涂层球囊 (股浅动脉/腘动脉适应症)(6款产品)
-
BD Interventional:Lutonix 018、Lutonix 035 (SFA/腘动脉) (药物: 紫杉醇 2 µg/mm²;直径: 4-7 mm;长度: 40-300 mm;用于SFA/腘动脉病变PTA)
-
Boston Scientific Corporation:Ranger DCB (药物: 紫杉醇 2 µg/mm²;直径: 4-7 mm;长度: 40-200 mm;用于SFA/近端腘动脉病变PTA)
-
Medtronic:In.Pact 018、In.Pact Admiral (药物: 紫杉醇 3.5 µg/mm²;直径: 4-7 mm;长度: 40-250 mm;用于SFA/腘动脉病变PTA)
-
Philips:Stellarex DCB (药物: 紫杉醇/PEG 2 µg/mm²;直径: 4-6 mm;长度: 40-200 mm;用于SFA/腘动脉病变)
取栓球囊导管(24款产品)
-
Edwards Lifesciences:无乳胶取栓导管 (尺寸: 2-7 F;长度: 40-100 cm;直径: 4-14 mm)
-
LeMaitre Vascular, Inc.:LeMaitre 经导丝/单腔取栓导管、NovaSil 无乳胶单腔取栓导管 (尺寸: 2-7 F;长度: 40-80 cm;球囊直径: 4-14 mm;球囊长度: 1.1-2.5 cm)
PTA球囊(98款产品)
注:此类别产品数量极多,涵盖从1.2 mm至26 mm直径,长度从2 mm至30 cm的广泛规格,由Abbott、BD、Boston Scientific、Cook、Cordis、Medtronic、Teleflex、Terumo等数十家公司提供,包括快速交换、经导丝、低剖面、高压、刻痕等多种类型。详细规格请参考原始表格:
特殊球囊(33款产品)
-
包括用于心血管介入的多种特殊球囊,如:B. Braun的BIB导管、Tyshak系列、Z-Med系列(用于瓣膜成形、房间隔造口、血管测量等);BD Interventional的True Dilatation、Vida系列(瓣膜成形);Cagent Vascular的Serranator刻痕球囊;Medtronic的Chocolate PTA;Philips的AngioSculpt刻痕球囊;The Ostial Corporation的Flash开口系统;Transit Scientific的XO Score/Constrain刻痕/约束装置等。规格多样,适应症涵盖外周、心血管及结构性心脏病领域。
特殊球囊 (神经)(略)
导管(略)
栓塞器械(略)
鞘管(略)
支架
球囊扩张式覆膜支架(8款产品)
-
B. Braun Interventional Systems, Inc.:Covered CP/G-Armor Stent、Mounted CP/G-Armor Stent、NuDEL CP系统 (材料: 铂金/ePTFE;直径: 12-30 mm;用于主动脉缩窄/RVOT导管破裂)
-
BD Interventional:LifeStream覆膜支架 (材料: 316L不锈钢/ePTFE;直径: 5-12 mm;用于髂动脉)
-
Getinge (Cook分销):iCast覆膜支架系统 (材料: 316L不锈钢;直径: 5-10 mm;用于髂动脉及分支桥接)
-
Gore & Associates:Gore Viabahn VBX球囊扩张式覆膜支架 (材料: 不锈钢/含氟聚合物;直径: 5-11 mm;用于髂动脉及分支桥接)
球囊扩张式支架(18款产品)
-
用于髂动脉、肾动脉、胆道等。主要厂商:Abbott (Omnilink Elite, Herculink Elite)、B. Braun (CP, G-Armor)、BD (Valeo)、Boston Scientific (Express LD/SD)、Cook Medical (Formula 418)、Cordis (Palmaz)、Medtronic (IntraStent, ParaMount, Visi-Pro)。材料多为316L不锈钢或钴铬合金。
颈动脉支架系统(10款产品)
-
Abbott:RX Acculink、Xact、Xact Transcarotid (锥形/直型,直径: 5-10 mm,长度: 20-40 mm;需配合Emboshield Nav6保护装置)
-
Boston Scientific Corporation:Carotid Wallstent (直径: 6-10 mm;配合FilterWire EZ)、Enroute Transcarotid Stent (配合Enroute NPS血流逆转系统)
-
Contego Medical LLC:Neuroguard IEP系统 (3合1支架+球囊+集成滤器;沙漏形)
-
Cordis:Precise Nitinol、Precise Pro RX (自动锥形;配合Angioguard XP/RX滤器)
-
InspireMD:CGuard Prime (自动锥形;配合Nav6或Mo.Ma保护装置)
-
Medtronic:Protégé RX (锥形/直型;配合SpiderFX滤器)
所有系统均适用于CEA高风险(部分包括标准风险)患者的颈动脉血运重建。
颅内支架(略)
药物洗脱支架(2款产品)
-
Boston Scientific Corporation:Eluvia DES (药物: 紫杉醇;材料: 镍钛诺;直径: 6-7 mm;用于SFA/近端腘动脉)
-
Cook Medical:Zilver PTX DES (药物: 紫杉醇;材料: 镍钛诺;直径: 5-8 mm;用于SFA)
开口支架定位系统(1款产品)
-
Merit Medical Systems, Inc.:Ostial Pro系统 (工作长度: 127 cm;用于主动脉-开口病变精确定位)
自膨式覆膜支架(7款产品)
-
BD Interventional:Covera (用于透析通路静脉狭窄)、Fluency Plus (用于透析通路静脉狭窄/ISR)
-
Gore & Associates:Gore Viabahn (用于SFA/髂动脉PAD及透析通路静脉吻合口狭窄)、Viabil (胆道,非心血管用)、Viatorr (用于TIPS)
-
Merit Medical Systems, Inc.:Wrapsody (用于透析通路流出道病变)
自膨式支架(41款产品)
-
用于髂动脉、SFA、腘动脉、胆道、静脉等。主要厂商:Abbott (Absolute Pro, Supera)、BD (E-Luminexx, LifeStar, LifeStent系列)、Boston Scientific (Epic, Innova, Wallstent系列)、Cook Medical (Zilver 518/635/Flex系列)、Cordis (Smart Control/Flex系列)、Medtronic (EverFlex, Protege系列)、Teleflex (Astron, Pulsar系列)、Terumo (Misago)、Veryan Medical (BioMimics 3D)等。材料多为镍钛诺。
静脉支架(3款产品)
-
BD Interventional:Venovo静脉支架系统 (材料: 镍钛诺;直径: 10-20 mm;长度: 40-160 mm;输送系统: 80/120 cm)
-
Cook Medical:Zilver Vena静脉支架 (材料: 镍钛诺;直径: 10-16 mm;长度: 40-140 mm;输送系统: 80/120 cm)
-
Medtronic:Abre静脉支架系统 (材料: 镍钛诺;直径: 10-20 mm;长度: 40-150 mm;输送系统: 90 cm)
导丝(略)
其他器械(选取部分类别)
斑块旋切装置(87款产品)
-
主要技术与厂商:
-
轨道旋切 (Orbital):Abbott (Diamondback 360系列,冠尺寸1.25-2.0 mm)
-
激光旋切 (Laser):Philips (Turbo-Elite/Power系列,导管尺寸0.9-2.5 mm);AngioDynamics (Auryon系统,导管尺寸0.9-2.35 mm)
-
旋转旋切 (Rotational):Boston Scientific (Rotapro/RotaLink Plus,磨头尺寸1.25-2.5 mm);BD Interventional (Rotarex系统,导管尺寸3/5 mm)
-
定向旋切 (Directional):Medtronic (HawkOne, SilverHawk系列);Avinger (Pantheris光学相干断层成像引导)
-
腔内旋切 (Atherectomy):Boston Scientific (Jetstream SC/XC);Philips (Phoenix);Rex Medical (Revolution)
-
流体机械血栓清除:Cardio Flow (FreedomFlow)
-
特性:涵盖不同最小血管直径(1.4-7 mm)、鞘管兼容性(4-8 F)、工作长度(60-225 cm)。
静脉内消融装置(26款产品)
-
主要技术与厂商:
-
激光消融 (Laser):AngioDynamics (VenaCure 1470, Spotlight);Dornier (FlexiPulse, LiteBeam+);Teleflex (Vari-Lase);Total Vein Systems (TVS 1470)
-
射频消融 (RF):BD Interventional (Venclose RF);Medtronic (ClosureFast, ClosureRFS)
-
化学消融/机械化学消融 (MOCA):Boston Scientific (Varithena泡沫);Methapharm (Asclera, ScleroSafe)
-
非热非肿胀消融:Medtronic (VenaSeal氰基丙烯酸酯胶);Basis Medical (Seclusion Catheter)
-
适应症:大隐静脉、浅静脉、穿通静脉反流治疗。
血流导向装置(3款产品)
-
Stryker:Surpass Evolve、Surpass Streamline (材料: 钴铬镍合金;直径: 3.25-5 mm;长度: 12-50 mm)
-
Terumo Neuro:FRED (材料: 镍钛诺/钽;直径: 2.5-5.5 mm;长度: 13-45 mm)
异物取出装置(1款产品)
-
ŌNŌCOR LLC (B. Braun分销):ŌNŌ Retrieval Device (内径: 7.5 F;篮径: 30/35 mm;用于心血管系统异物取出)
血管内碎石术(4款产品)
-
Shockwave Medical, Inc.:
-
Shockwave M5+ (直径: 3.5-8 mm,长度: 60 mm)
-
Shockwave L6 (直径: 8-12 mm,长度: 30 mm)
-
Shockwave E8 (直径: 2.5-6 mm,长度: 80 mm)
-
Shockwave Javelin (用于钙化病变预处理)
-
适应症:外周血管(髂、股、腘、膝下、肾动脉)钙化病变的碎石增强球囊扩张。
机械血栓切除/溶栓 (外周/静脉)(74款产品)
-
主要技术与厂商:
-
抽吸血栓切除 (Aspiration):Penumbra (Indigo系统,CAT系列, Lightning系列)、Imperative Care (Prodigy, Symphony系统)、Inari Medical (FlowTriever系统, ClotTriever)、AngioDynamics (AlphaVac系统)、Control Medical Technology (Control系列)、Medtronic (Liberant)
-
流变血栓切除 (Rheolytic):Boston Scientific (AngioJet系列 – Solent, ZelanteDVT, AVX)
-
超声辅助溶栓 (US-assisted thrombolysis):Boston Scientific (Ekos/Ekos+系统)
-
机械搅拌/取栓 (Mechanical agitation/retrieval):Argon Medical (Cleaner XT/15)、Inari Medical (Artix系统)、Surmodics (Pounce系列)、Thrombolex (Bashir系列 – 篮式灌注)、Vesalio (pVasc系统)
-
支持性装置:Cook Medical (多侧孔灌注导管)、Liquet Medical (Versus导管 – 血流动力学引导溶栓)
-
适应症:广泛用于外周动静脉系统、肺动脉栓塞、透析通路血栓的清除。
经皮经壁动脉旁路 (SFA/腘动脉治疗)(3款产品)
-
Endologix:Detour系统 (包含Torus支架移植物 [直径: 5.5-6.7 mm,长度: 100-200 mm] 和Endocross再入装置)。用于长段SFA病变(20-46 cm)。
可回收支架疗法(1款产品)
-
Reflow Medical, Inc:Spur支架 (材料: 镍钛诺;直径: 3-4 mm;长度: 60-65 mm)。用作PTA辅助,扩张膝下动脉狭窄。
血栓抽吸装置(34款产品)
-
主要厂商与产品线:
-
Control Medical Technology:Control 机械抽吸器及5F-11F导管系统
-
Getinge/Teleflex:Xpress-Way/Pronto 系列抽吸导管
-
Imperative Care (Stroke):Zoom 系列神经血管抽吸导管 (35-71)
-
Medtronic:Diver CE, Export Advance/AP, React 68, Riptide 系统
-
Merit Medical Systems, Inc.:ASAP, ASAPLP 抽吸导管套件
-
Stryker:AXS Catalyst/Vecta 系列抽吸导管,AXS Universal 抽吸套装
-
Terumo:PriorityOne, Sofia Flow Plus 抽吸导管
-
特点:涵盖不同头端直径(1.3-3.45 mm)、导管长度(90-160 cm),兼容5F-11F导引导管或鞘管。
腔静脉滤器(12款产品)
-
主要厂商与类型:
-
ALN:ALN Optional Filter (可选/永久,不锈钢,锥形)
-
Argon Medical Devices, Inc.:Option Elite (可选/可取回,镍钛诺,锥形)
-
B. Braun:VenaTech Convertible (可转换),VenaTech LP (永久,钴铬合金,锥形)
-
BD Interventional:Denali Filter (可选/可取回,镍钛诺,双层锥形)
-
Cook Medical:Celect Platinum, Günther Tulip (可选/可取回,Conichrome,锥形)
-
Cordis:OptEase (可取回),TrapEase (永久,镍钛诺,双层篮式)
-
Mermaid Medical:Angel Catheter (可取回,镍钛诺,锥形,集成于导管)
-
特性:腔静脉直径适应范围通常≤30 mm,输送系统5-12.9 F,入路包括股、颈、肱静脉等。
米国医疗器械公司产品名录
本名录按字母顺序收录了《米国医疗器械指南》中的所有公司信息
米国公司产品目录
|
|
|
|---|---|
| Ō |
|
|
|
|
| A |
|
|
|
|
|
|
|
|
|
|
|
|
|
|
|
|
|
|
|
|
|
|
|
|
|
|
|
|
|
|
|
|
|
|
|
|
|
| B |
|
|
|
|
|
|
|
|
|
|
|
|
|
|
|
|
|
|
|
|
|
|
|
|
|
|
|
|
|
|
|
| C |
|
|
|
|
|
|
|
|
|
|
|
|
|
|
|
|
|
|
|
|
|
|
| D |
|
|
|
|
|
|
|
| E |
|
|
|
|
|
|
|
|
|
|
|
|
|
|
|
|
| F |
|
|
|
|
|
|
|
|
|
|
| G |
|
|
|
|
|
|
|
|
|
|
|
|
|
|
|
|
| H |
|
|
|
|
| I |
|
|
|
|
|
|
|
|
|
|
|
|
|
|
|
|
|
|
|
|
|
|
|
|
|
|
|
|
| L |
|
|
|
|
|
|
|
| M |
|
|
|
|
|
|
|
|
|
|
|
|
|
|
|
|
|
|
|
|
|
|
| N |
|
|
|
|
|
|
|
| O |
|
|
|
|
|
|
|
| P |
|
|
|
|
|
|
|
|
|
|
|
|
|
|
|
|
|
|
|
| R |
|
|
|
|
|
|
|
|
|
|
|
|
|
| S |
|
|
|
|
|
|
|
|
|
|
|
|
|
|
|
|
|
|
|
|
|
|
|
|
|
| T |
|
|
|
|
|
|
|
|
|
|
|
|
|
|
|
|
|
|
|
|
|
|
|
|
|
|
|
|
|
|
|
|
|
|
|
|
|
|
|
|
|
|
|
|
|
|
| U |
|
|
|
|
| V |
|
|
|
|
|
|
|
|
|
|
|
|
|
| W |
|
|
|
|
| Z |
|
|
|
|
-
技术路径与选择:
德富、游雲、国富、玉成、聖石、丽强、禹杰、
雲飛、传奇、Lyu (武汉协和).
Wuhan Union Hospital



